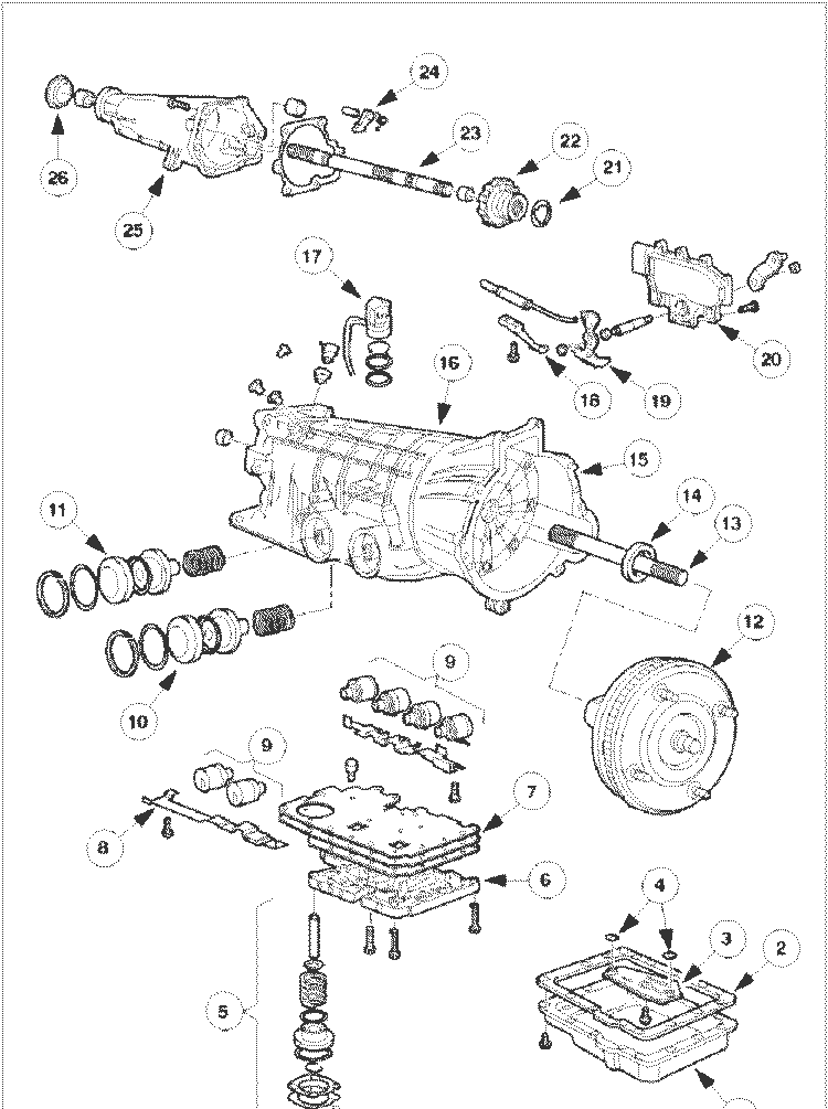
Diagram 1 - Index |
| 1 |
Sump |
| 2 |
Sump gasket |
| 3 |
Transmission fluid filter |
| 4 |
Transmission fluid filter seals |
| 5 |
Rear servo piston |
| 6 |
Valve body assembly |
| 7 |
Intermediate plate with gaskets |
| 8 |
Retaining plate |
| 9 |
Solenoids |
| 10 |
Front servo piston |
| 11 |
Centre servo piston |
| 12 |
Torque converter |
| 13 |
Input shaft |
| 14 |
Transmission fluid pump housing seal |
| 15 |
Torque converter housing |
| 16 |
Transmission housing |
| 17 |
Transmission connector |
| 18 |
Detent spring |
| 19 |
Detent plate |
| 20 |
Transmission range sensor (TR sensor) |
| 21 |
Thrust washer (-7B368-) |
| 22 |
Governor hub |
| 23 |
Output shaft |
| 24 |
Parking pawl |
| 25 |
Transmission extension housing |
| 26 |
Transmission extension housing seal |
| |
|
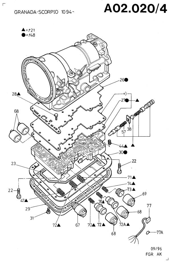
| Diagram 2 Index |
| 27 |
Intermediate plate gasket |
| 28 |
Intermediate plate |
| 29 |
Transmission fluid pump gears |
| 30 |
Seal - transmission fluid pump shaft |
| 31 |
Transmission fluid pump |
| 32 |
Thrust washer (-7D014-) |
| 33 |
Square section ring |
| 34 |
O/D brake band |
| 35 |
Hydraulic piston inner seal |
| 36 |
Hydraulic piston outer seal |
| 37 |
Hydraulic piston |
| 38 |
Compression springs |
| 39 |
Spring retainer |
| 40 |
Circlip |
| 41 |
Plate pack |
| 42 |
Support plate |
| 43 |
Support plate circlip |
| 44 |
Drive plate |
| 45 |
Sun wheel |
| 46 |
Needle bearing (-7D234-) |
| 47 |
O/D planet carrier with sensor plate |
| 48 |
Axial needle bearing (-7L495-) |
| 49 |
Annulus |
| 50 |
O/D one-way clutch |
| 51 |
Centre shaft |
| 52 |
Centre shaft circlip |
| 53 |
Needle bearing (7D014-) |
| 54 |
Centre carrier circlip |
| 55 |
Centre carrier with TSS sensor |
| 56 |
Centre carrier seals |
| 57 |
Needle bearing (-7D014-) |
| 58 |
Centre brake band |
| 59 |
Hydraulic piston inner seal |
| 60 |
Hydraulic piston outer seal |
| 61 |
Hydraulic piston |
| 62 |
Compression springs |
| 63 |
Spring retainer |
| 64 |
Circlip |
| 65 |
Plate pack |
| 66 |
Support plate |
| 67 |
Support plate circlip |
| 68 |
Thrust washer (-7D428-) |
| 69 |
Piston rings |
| 70 |
Hydraulic piston inner seal |
| 71 |
Hydraulic piston outer seal |
| 72 |
Hydraulic piston |
| 73 |
Compression spring |
| 74 |
Spring retainer |
| 75 |
Hydraulic piston damping ring |
| 76 |
Circlip |
| 77 |
Plate pack |
| 78 |
Support plate |
| 79 |
Support plate circlip |
| 80 |
Needle bearing (-7D234-) |
| 81 |
Bronze bush (-7D045-) |
| 82 |
Needle bearing (-7F374-) |
| 83 |
Planet carrier with needle bearing (-7D234-) |
| 84 |
Inner circlip |
| 85 |
Sun wheel |
| 86 |
Input bell housing |
| 87 |
Outer circlip |
| 88 |
Small circlip - output shaft |
| 89 |
Large circlip - output shaft |
| 90 |
Thrust washer (-7D423-) |
| 91 |
Rear planet carrier |
| 92 |
Thrust washer (-7D423-) |
| 93 |
Annulus |
| 94 |
Rear brake drum |
| 95 |
Rear brake band |
| 96 |
Thrust washer (-7D422-) |
| 97 |
Rear one-way clutch |
| 98 |
Circlip |
General Specifications
Lubricants, Adhesives and Sealers Specification |
|
|
| Automatic transmission fluid (build date up to August '96) |
ESP-M2C166-H |
|
| Automatic transmission fluid (build date from August '96 onwards) |
WSS-M2C202-B |
|
| Automatic transmission fluid for vehicles with 2,3 DOHC 16V engine |
WSS-M2C202-B |
|
| Lithium grease (for selector lever assembly) |
SM-1C1021-A |
|
| High-temperature grease |
ESDM-1C220-A |
|
Fill Capacity
Description |
Litres |
|
| Automatic transmission with torque converter and fluid cooler |
10.3 |
|
|
Torques
General |
Nm |
lbf.ft |
| Rear axle transverse brace |
49 |
36 |
| Front axle transverse brace |
80 |
59 |
| Exhaust system |
Nm |
lbf.ft |
| Exhaust mounting bracket to transmission crossmember |
47 |
35 |
| Exhaust pipe to mounting bracket |
23 |
17 |
| Catalytic converter bracket to transmission |
23 |
17 |
| Catalytic converter to manifold |
47 |
35 |
| Front part to rear part of exhaust system |
47 |
35 |
| Driveshaft |
Nm |
lbf.ft |
| Driveshaft to rear differential |
66 |
49 |
| Driveshaft centre bearing to floor assembly |
21 |
16 |
| Engine mounting |
Nm |
lbf.ft |
| Fluid line bracket to engine mounting |
50 |
37 |
| Transmission - Remove and Install |
Nm |
lbf.ft |
| Starter motor to automatic transmission |
44 |
33 |
| Engine to automatic transmission flange bolts |
44 |
33 |
| Ground cable to automatic transmission |
44 |
33 |
| Transmission crossmember to floor assembly |
36 |
27 |
| Transmission crossmember to automatic transmission |
62 |
46 |
| Torque converter to drive plate |
44 |
33 |
| Fluid line to automatic transmission |
25 |
19 |
| Transmission - Dismantle and Assemble |
Nm |
lbf.ft |
| Transmission extension housing to transmission housing |
44 |
33 |
| Centre carrier to transmission housing |
11 |
8 |
| Oil pump bolts to torque converter housing |
24 |
18 |
| Torque converter housing to transmission housing |
44 |
33 |
| Lock nut of brake band adjusting bolt |
54 |
40 |
| Intermediate plate to valve body assembly |
7 |
5 |
| Valve body assembly to transmission housing |
11 |
8 |
| Servo piston cover to valve body assembly |
11 |
8 |
| Sump to transmission housing |
14 |
10 |
| Selector lever to selector lever shaft |
47 |
35 |
| TR sensor to transmission housing |
11 |
8 |
| Automatic transmission fluid filter to transmission housing |
11 |
8 |
|
|
|