Last update:

08/03/2005

  Battery

About Us Useful Links Forums Mailing List

 

Up
Alternator (24V)
Battery
Charging System Tests
Fusebox Rebuild
Fusebox Rebuild 2
Fusebox layouts
Charging System
Starting System
Exterior Electrics Manual
Basic Int Electrics
Aux Warning Systems
Anti-theft Systems

 

 

 

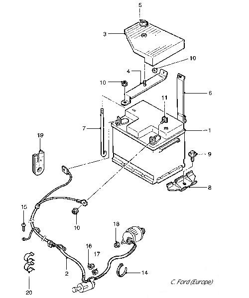
Owners are often asking how on earth they change the battery on the Scorpio - the shelf is tucked behind a bulkhead beneath the windscreen.  It should also have a battery cover fitted - and if not one should be fitted at once, because water will pour over the battery and may cause damage to the auxillary fusebox next to it.

The Original fitment battery is a Cadmium battery (Pb)  (although they are described as Calcium on the case) and while these provide excellent performance, they tend to fail very quickly, sometimes literally overnight. Symptoms include 'dancing needles' (instruments flick round when starting), and electronic modules resetting, such as the Climate Control. This is caused by the system voltage dropping below 10 volts while meeting the demand from the starter motor.

This is how your battery should look, tucked safely away beneath a cover that throws off the water from the windscreen.

Recently, several owners have reported having problems with Halfords batteries - after a year or so they have failed. While they are warranted and replaced by a no-quibble guarantee, that does not recompense for the inconvenience of the car failing to start!  Pete C has replaced three, and has given up. This time he has gone for a refund and bought a Original Fitment Ford Motorcraft battery.

 

This is a Pb battery rated at 650 Cold Cranking Amps and 71 amp-hours capacity.  That should sort it, then.  Lower-rated batteries can be fitted, but the higher the specification of your car the more you should consider the higher rating.  Eric R has used a Kwik Fit battery of a similar capacity since April 2001and has not experienced any problems.

Pete C has taken these photos to show the procedure.

The battery cover has been removed. At this point one anticipates a hernia, hauling the heavy item out from behind the bulkhead - but Ford designers thought of that ...

The top bonnet seal pulls off from the engine bulkhead.  Suddenly, it is apparent that the bulkhead here is split, secured with 'fir-tree' fasteners each side.  Pull away the soundproofing and removing these fasteners enables the battery bulkhead to be removed and opening the whole of the battery shelf.

The bulkhead panel removed.

There - now that looks a bit easier, doesn't it? Now take a careful look at the battery connections. Missing an earth when replacing it is not uncommon, and if you do you will have strange electrical problems - like the engine not starting.  NOTE - unless you use a Memory Keeper on the cigar lighter socket, disconnecting the battery will lose the radio code and settings, so make sure you have the radio PIN before you start.  The engine may run slightly ragged after reconnection - this is normal and will readjust as the engine relearns its settings.

There is a top brace and a side clamp at the bottom of the battery. Remove these and the battery can be lifted out quite easily. 

At this point some corrosion may be found on the battery shelf. It would be best to treat this before it becomes too serious. The lower side clamp can be seen here. NOTE: a properly-clamped battery is an MOT requirement.

A bit of Kurust and a spray of black paint  may be in order here. Alternatively, WD40 sprayed over the metal will keep the moisture away from the metal.

The new Ford battery in place. Careful attention is now needed to ensure all of the earth and positive connections are replaced on the battery terminals. It is quite common to miss a single black lead for the electronics so make sure none have slipped away out of sight.

Now replace the battery bulkhead and the battery cover. The radio will need re-coding, the stations re-tuned and the trip computer (where fitted) changed back from KM to Miles.

 

Pix by Pete C - Text from EricR

 

 

Copyright © 2002 www.fordscorpio.co.uk