A printable PDF version of this page is available
HERE
Introduction
The 95+ Scorpio, utilises standard automotive headlamp technology, albeit in
a revolutionary polyelipsoid design. H1 Halogen 55W lamps are used for
both the Dipped Beam and Main Beam illumination and standard filament lamps are
used for the side lights.
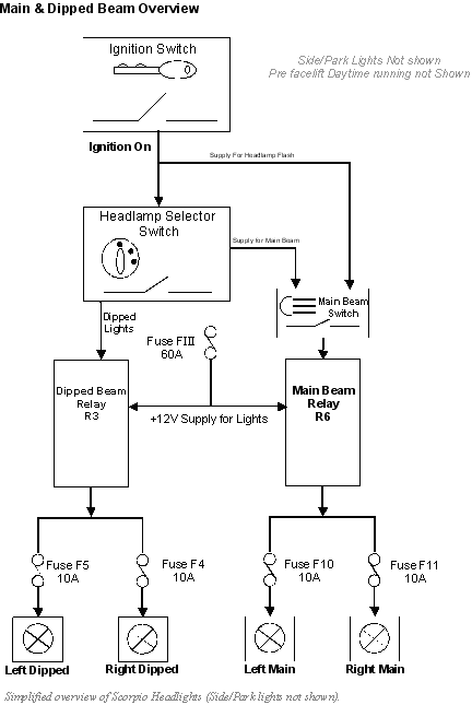
The Head lighting system contains 6 lamps, 3 per side.
1. Dipped Beam
2. Main Beam (& Headlight Flasher)
3. Side lamps/Parking Lights/Dim dip Running Lights (Pre facelift models only).

Changing Halogen Lamps
When fitting replacement or upgraded headlamp bulbs, its important that no
grease from the fingers is allowed to contaminate the glass envelope of the
bulb. Grease will cause hot spots, resulting in black marks and premature
failure of bulbs due to overheating. If you do happen to touch the glass
envelope, use methalated spirits or IPA cleaning fluid to fully remove any
grease residue.
For further information about Headlamps read
here and here.




Faults
Failure of a Lamp to Illuminate
1. Faulty Bulb, check visually or with DMM.
2. Bad connection on Multi Pin plug to Headlamp Unit, check clean and reseat.
3. Activated Fuse in relevant circuit, replace fuse, check visually for damaged
wiring loom, then retry. See Here for Fuse Box Info
4. Faulty associated Relay, replace Relay.
5. Wiring Loom Open Circuit fault, investigate loom for damage and repair
appropriately.
6. Fuse Box fault. See Here for Fuse Box Info
7. Faulty Headlamp Selector Switch or associated wiring Loom.
Lamps will not Turn Off
1. Wiring Loom Short Circuit, inspect loom and repair appropriately.
2. Short in Fuse Box. See Here for Fuse Box Info
Loom Repairs
If Loom damage is found, it may be possible to make a localised repair.
Remove the outer insulation. Unwind insulating tape from the damaged area, then
cut out the faulty wiring, then follow the diagram

Automatic Headlight Extender Modification (see here)
